
COTTO
Vòi chậu lavabo COTTO CT104C20(HM) lạnh Cross CT104C20(HM)
Mã SP: CT104C20(HM)
Tình trạng: Còn hàng
Giá tham khảo
1.254.000đ
Thông tin sản phẩm vòi lavabo lạnh COTTO CT104C20(HM)
- Danh mục: Vòi chậu
- Mã sản phẩm: CT104C20(HM)
- Dòng sản phẩm: Cross
- Không bao gồm bộ xả và dây cấp nước
- Chất liệu: Đồng thau mạ Nickel-Chrome
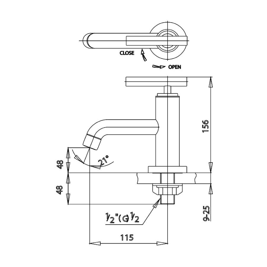
Bản vẽ kỹ thuật vòi lavabo lạnh CT104C20(HM)

Đặc điểm nổi bật vòi lavabo lạnh CT104C20(HM) COTTO
- Thiết kế hiện đại hài hòa.
- Lớp mạ bền vững với thời gian.
- Có tính kháng khuẩn, chống trầy xước.
- Đa dạng chủng loại và kích thước.
- Phù hợp với loại chậu đặt trên bàn, chậu treo tường hoặc chậu âm bàn.
- Thiết kế thông minh: Tối giản những góc cạnh, giúp dể dàng vệ sinh.
- Thân thiện với môi trường.
Xem thêm